![]() <
>
|
4 3 0 型 双 瓣 式 止 回 阀更新:2014-07-04浏览: |
产品介绍
-Size/规格:DN40-DN800
-End/连接法兰:ISO PN6/10/16
-Face to Face/结构长度:DIN 3202 F3
-Work Pressure/工作压力:PN16 DN50-DN400 PN10 DN450-DN800
-End/连接法兰:ISO PN6/10/16
-Face to Face/结构长度:DIN 3202 F3
-Work Pressure/工作压力:PN16 DN50-DN400 PN10 DN450-DN800
- Work Temperature/工作温度:-20℃~100℃
Structure Character/结构特点
- 阀座材质多种选择,满足各种不同工况。
- 体积小,重量轻,结构紧凑,维修方便。
- 完全密封,水压试验零泄露。
- 阀板行程短,关闭快,减少水锤。
- 安装方便,可水平和垂直安装。
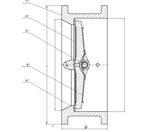
Main Components and Materials/主要零件和材质

Dimensions/尺寸

上一篇:4 2 0 型 静 音 止 回 阀 下一篇:440型全衬胶双瓣式止回阀













