![]() <
>
|
610 SERIES METAL SEATED GATE VALVEupdate锛2014-07-07Browse锛 |
Product introduction
Technical Specification/鎶鏈鏍
- Size/瑙勬牸锛欴N40-DN600
- Design/璁捐鏍囧噯锛欴IN3352- End/杩炴帴娉曞叞锛歅N6/10/16
- Face to Face/缁撴瀯闀垮害锛欴IN3202 F4/F5
- Work Pressure/宸ヤ綔鍘嬪姏锛歅N6/PN10/PN16
- Work Temperature/宸ヤ綔娓╁害锛-20鈩冿綖100鈩
Structure Character/缁撴瀯鐗圭偣
- Bolted Bonnet connection.
- One piece wedge
- The body is coated with epoxy resion powder, anti-corrosion and anti-rust.
- 3 O-rings sealing 3 O-rings sealing design at shaft, it reduce the frictional resistance when open and close,and significantly reduce water leakage and we can replace the seal rings without closing
water supply.
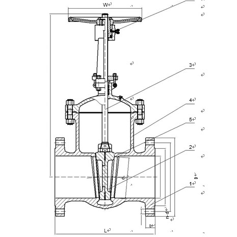
Main Components and Materials/涓昏闆朵欢鍜屾潗璐
RISING STEM/鏄庢潌 Dimensions/灏哄

Non rising
stem/鏆楁潌 Dimensions/灏哄

















