![]() <
>
|
430 SERIES DUAL PLATE CHECK VALVEupdate锛2014-07-07Browse锛 |
Technical Specification/鎶鏈鏍
- Size/瑙勬牸锛欴N40-DN800
- End/杩炴帴娉曞叞锛欼SO PN6/10/16
- Face to Face/缁撴瀯闀垮害锛欴IN 3202 F3
- Work Pressure/宸ヤ綔鍘嬪姏锛歅N16 DN50-DN400 PN10 DN450-DN800
- Work Temperature/宸ヤ綔娓╁害锛-20鈩冿綖100鈩
Structure Character/缁撴瀯鐗圭偣
- Different material of seat for different working condition.
- Small volume, light weight, integrated structure, easy maintenance.
- Full tightness, Zero leakage.
- Short opening and closing course, quick closing, low water hammer pressure.
- Suitable in horizontal and vertical direction installation, easy installation..
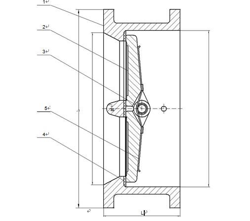
Main Components and Materials/涓昏闆朵欢鍜屾潗璐

Dimensions/灏哄














